龍門式金屬薄板刨槽機用可隱藏壓腳發明介紹
發布時間:2020-03-16 20:09:00
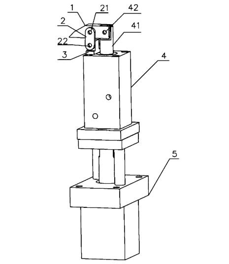
錢橋化工機械發明公開了一種實用新型龍門式金屬薄板刨槽機用可隱藏壓腳,其包括壓腳、連接件、安裝件、第一驅動件和第二驅動件,安裝件安裝在第一驅動件上,連接件兩端通過第一鉸鏈和第二鉸鏈連接壓腳和安裝件,第一驅動件上設有推桿,壓腳一端凸出第一驅動件外側,壓腳另一端通過第三鉸鏈連接推桿,第二驅動件固定連接第一驅動件,通過第一驅動件控制壓腳向上旋轉,通過第二驅動件驅動壓腳向下移動。本實用新型提供了一種結構合理、設計巧妙、安全可靠、工作效率高的龍門式金屬薄板刨槽機用可隱藏壓腳。
龍門式金屬薄板刨槽機用可隱藏壓腳
技術領域[0001]本實用新型涉及機械加工領域,更具體涉及一種龍門式金屬薄板刨槽機用可隱藏壓腳。
背景技術
[0002]在商廈、機場、飯店、賓館、銀行等裝修中需要使用到大量的金屬板材,需要對金屬板材進行折彎,為了使折彎后的金屬板材圓弧半徑小,外觀更加精美,就需要在折彎前對金屬板材進行開槽。通常對金屬薄板進行開槽的機床分為立式和龍門式,目前的龍門式金屬薄板開槽機大多數只能沿一個方向進行開槽,在中國實用新型專利201520041942.1公開的龍門式薄板開槽機自動回轉刀架裝置,通過刀架的轉動實現縱向和橫向兩個方面的開槽,但是在實際生產中,在橫向進行開槽時有壓腳壓緊金屬薄板,在縱向開槽時壓緊金屬薄板的技術問題尚未解決。壓緊金屬板進行縱向開槽,需要在機床底座的側邊加上壓腳即可,但是壓腳必然會凸出來,假如需要開槽的位置被壓腳壓住,刀頭就會撞上壓腳無法開槽。
實用新型內容
[0003]為了解決上述問題,本實用新型的目的在于提供了一種結構合理、設計巧妙、安全可靠、工作效率高的龍門式金屬薄板刨槽機用可隱藏壓腳。
[0004]根據本實用新型的一個方面,提供了龍門式金屬薄板刨槽機用可隱藏壓腳,其包括壓腳、連接件、安裝件、第一驅動件和第二驅動件,安裝件安裝在第一驅動件上,連接件兩端通過第一鉸鏈和第二鉸鏈連接壓腳和安裝件,第一驅動件上設有推桿,壓腳通過第三鉸鏈連接推桿,第二驅動件固定連接第一驅動件,通過第一驅動件控制壓腳向上旋轉,通過第二驅動件驅動壓腳向下移動,進而解決龍門式金屬薄板刨槽機縱向開槽無法壓緊金屬薄板的問題。
[0005]在一些實施方式中,第一驅動件驅動推桿收縮時,壓腳以第三鉸鏈為中心順時針旋轉,便于實現壓腳的旋轉,實現壓腳的隱藏。
[0006]在一些實施方式中,第一驅動件驅動推桿收縮時,連接件以第二鉸鏈為中心順時針旋轉,便于實現壓腳的旋轉,實現壓腳的隱藏。
[0007]在一些實施方式中,第一驅動件驅動推桿收縮時,所述壓腳以第一鉸鏈為中心順時針旋轉,便于實現壓腳的旋轉,實現壓腳的隱藏。
[0008]在一些實施方式中,壓腳以第三鉸鏈為中心旋轉0°-100°,便于實現壓腳的旋轉,實現壓腳的隱藏。
[0009]在一些實施方式中,第一驅動件能夠驅動推桿升起,第二驅動件能夠驅動第一驅動件升起或者下降,便于實現壓腳的隱藏,以及能夠回復至壓緊金屬板。
[0010]本實用新型一種龍門式金屬薄板刨槽機用可隱藏壓腳通過壓腳下壓來固定金屬薄板,使龍門式金屬薄板刨槽機實現縱向和橫向的開槽,龍門式金屬薄板刨槽機用可隱藏壓腳同時具備結結構合理、設計巧妙、安全可靠、工作效率高等優點。
附圖說明
[0011]圖1是本實用新型龍門式金屬薄板刨槽機用可隱藏壓腳的結構示意圖;
[0012]圖2是本實用新型龍門式金屬薄板刨槽機用可隱藏壓腳的第一步驟使用狀態圖;
[0013]圖3是本實用新型龍門式金屬薄板刨槽機用可隱藏壓腳的第二步驟使用狀態圖。

當前位置: